Skip to content
website logo
  • twitter social media icon
  • facebook social media icon
  • linkedin social media icon
  • instagram social media icon
  • >  Contact Us
  • Log In
    • Home
    • Compact Tractors
      Series 1 - TYM Compact Tractor image
      Series 1 - 19-25HP - Compact Tractors
      Series 2 Front image image
      Series 2 - 25-50HP - Compact Tractors
      Series 3 Front Image cropped image
      Series 3 - 51-60HP - Compact Tractors
      T78 front right cropped image
      Series 4 - 61-75HP - Compact Tractors
    • Attachments
      Loader front image cropped image
      Loaders
      4 in 1 Bucket image
      Loader Buckets and Accessories
      Mower top image image
      Mowers
      20210818_095402 cropped 5/3 image
      Tractor Front Weights
    • TYM
    • Parts & Support
      TYM Tractor Parts image
      Spare Parts Centre
      Spares front image cropped 5/3 image
      Service Kits
      all oils image
      Oils for Servicing
    • Sustainability
    • Dealer Map
    Skip to content
    website logo
    • Home
    • Compact Tractors
      • Series 1 - 19-25HP - Compact Tractors
      • Series 2 - 25-50HP - Compact Tractors
      • Series 3 - 51-60HP - Compact Tractors
      • Series 4 - 61-75HP - Compact Tractors
    • Attachments
      • Loaders
      • Loader Buckets and Accessories
        • Plain Dirt Buckets
        • 4-in-1 Buckets
        • Pallet Forks
        • Muck Forks
        • Muck Grabs
        • Bale Spikes
        • Loader 3rd Hydraulic Service
        • Rear Counter Balance Weights
      • Mowers
      • Tractor Front Weights
    • TYM
    • Parts & Support
      • Spare Parts Centre
      • Service Kits
        • Current Tractor Service Kits
        • Historical Tractor Service Kits
      • Oils for Servicing
    • Sustainability
    • Dealer Map
    • > Contact Us
    Your browser appears to have JavaScript disabled. We use JavaScript to provide essential functionality on this website. Please enable JavaScript in your browser settings.
    Share

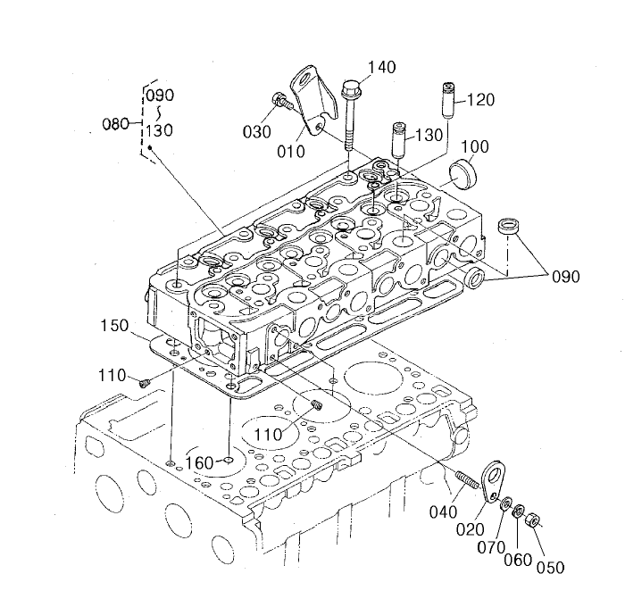
    003 Cylinder Head

    Home  /  Parts  /  Historical TYM Models  /  T431  /  Engine  /  003 Cylinder Head
    003 Cylinder head

    We use cookies to tailor your web browsing experience. By accepting the below and continuing to browse our site, you agree to our privacy policy.

    TOP >
    TYM Tractors UK Ltd
    +44 01789 774 089
    sales@tymtractors.co.uk
    > Privacy Policy > Terms & Conditions
    twitter social media icon
    facebook social media icon
    linkedin social media icon
    instagram social media icon
    website logo
    Copyright © 2026 TYM Tractors. All Rights Reserved.
    Powered by website logo